產品目錄
蒸汽流量計
渦街流量計
孔板流量計
壓縮空氣流量計
氣體流量計
熱式氣體質量流量計
旋進旋渦流量計
金屬管浮子流量計
氣體羅茨流量計
電磁流量計
渦輪流量計
橢圓齒輪流量計
水流量計
液體流量計
超聲波流量計
磁翻板液位計
浮子液位計
浮球液位計
玻璃管液位計
雷達液位計
超聲波液位計
投入式液位計
壓力變送器
差壓變送器
液位變送器
溫度變送器
熱電偶
熱電阻
雙金屬溫度計
相關產品
聯系我們
聯系電話:13655235852
服務熱線:0517-86801009
公司傳真:0517-86801007
公司郵箱:1464856260@qq.com
公司地址:江蘇省金湖縣理士大道61號
浮球液位計連接方式的選擇
浮球液位計具有適應性強、無需調效、免維護等特點,廣泛應用于石油、化工、環保、冶金、食品等行業。
但在具體應用過程中,部分客戶過程連接選擇錯誤的現象時有發生。
在此我們談談安裝浮球液位計時過程連接如何選擇的問題,以供客戶參考。
浮球液位計的測量原理和應用

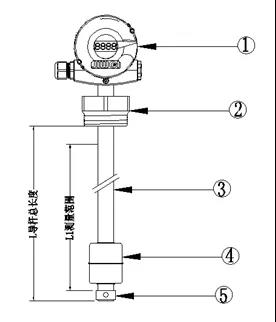
浮球液位計結構圖
①表頭 ②過程連接 ③導桿 ④浮球 ⑤鎖緊環
浮球液位計是基于阿基米德浮力原理設計的。當容器的液位變化時,浮球也隨著上下移動,由于磁性作用,浮球液位計的干簧管受磁性吸合,從而使傳感器內電阻成線性變化,再由轉換器將這個阻值的變化轉換成4~20mA標準直流信號輸出,實現液面的遠距離檢測和控制。
在工業現場,液位測量的工況非常復雜,計為工程師在選型之前一般都須了解測量介質的物理和化學特性。除了要考慮溫度、壓力、腐蝕性和液體粘稠度等因素外,對浮球液位計還需要特別考慮介質的密度。根據測量范圍、介質密度等的不同要求,選擇不同過程連接、測量精度、防護等級、防爆等級等的儀表,以與現場工況相匹配,實現液位的安全和可靠測量。

浮球液位計的過程連接究竟如何選擇
其中,對于過程連接的選擇經常會被疏忽,它看起來雖然簡單,卻十分關鍵。
如果過程連接選擇螺紋安裝,此時,就需考慮浮球是否能放進螺紋孔。
通常,為了達到*佳測量精度和更可靠的測量效果,在設計浮球液位計時需根據不同的液體密度來選擇不同大小的浮球,根據介質密度需要選擇大浮子時,選用螺紋過程連接,常會導致現場無法安裝的情況出現。
為避免這種情況的發生,計為自動化通常建議客戶選擇法蘭過程連接,而且盡量選擇較大通孔的法蘭,這樣可實現以下好處:
1、選擇較大通孔的法蘭,可以適當增加浮球橫向直徑,減少浮球縱向高度,從而提高測量精度。
2、選擇較大通孔的法蘭,可以適當增加探桿直徑,提高探桿強度,對較大量程(或插入深度)應用具有特別的意義。
3、不同廠家的設備,往往具有不同的浮球大小和介質密度匹配規則,選擇較大通孔的法蘭,提高日后與不同廠家設備的匹配度和更換的靈活性。

