產品目錄
蒸汽流量計
渦街流量計
孔板流量計
壓縮空氣流量計
氣體流量計
熱式氣體質量流量計
旋進旋渦流量計
金屬管浮子流量計
氣體羅茨流量計
電磁流量計
渦輪流量計
橢圓齒輪流量計
水流量計
液體流量計
超聲波流量計
磁翻板液位計
浮子液位計
浮球液位計
玻璃管液位計
雷達液位計
超聲波液位計
投入式液位計
壓力變送器
差壓變送器
液位變送器
溫度變送器
熱電偶
熱電阻
雙金屬溫度計
相關產品
聯系我們
聯系電話:13655235852
服務熱線:0517-86801009
公司傳真:0517-86801007
公司郵箱:1464856260@qq.com
公司地址:江蘇省金湖縣理士大道61號
渦輪流量計的安裝有哪些要求
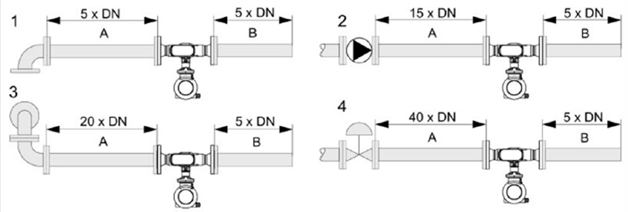
有多位朋友表示對下圖的直管段有疑問,在此說明一下:
1-代表帶90°彎頭的管道或三通(T形)管
2-代表泵
3-代表帶2個90°彎頭的兩相管道
4-代表控制閥

渦輪流量計可水平、垂直安裝,垂直安裝時流體方向必須向上,液體應充滿管道,不得有氣泡。
安裝時,液體流動方向應與傳感器外殼上指示流向的箭頭方向一致。安裝時必須使管道內流體滿管,才能保證測量精準。

流量計上游端至少應有10倍公稱通徑長度的直管段,下游端應不少于5倍公稱通徑的直管段,其內壁應光滑清潔,無凹痕、積垢和起皮等缺陷。
傳感器的管道軸心應與相鄰管道軸心對準,連接密封用的墊圈不得深入管道內腔。不同情況下的直管段要求如下圖。

同時在安裝時應避免管道內產生氣泡,否則會影響測量的精度。

下一篇:渦輪流量計適用于什么場合
上一篇:天線結疤和泡沫對雷達液位計的影響
相關資訊
- 黏度對渦輪流量計有什么影響
- 渦輪流量計的特點有哪些
- 渦輪流量計沒有信號輸出的原因分析
- 渦輪流量計計量不準確的原因與處理
- 氣體渦輪流量計計量不準的因素分析
- 氣體渦輪流量計的技術參數
- 氣體渦輪流量計與旋進旋渦流量計的區別
- 氣體渦輪流量計的性能特點
- 氣體渦輪流量計維護保養
- 氣體渦輪流量計的規格型號
- 渦輪流量計正確使用方法
- 渦輪流量計的接線方法
- 渦輪流量計種類有哪些
- 渦輪流量計型號規格說明
- 渦輪流量計有什么優缺點
- 影響渦輪流量計計量精度的因素
- 氣體渦輪流量計安裝要求與注意事項
- 氣體渦輪流量計的原理結構及應用
- 氣體渦輪流量計的優缺點
- 氣體渦輪流量計如何正確的選型
- 渦輪流量計適用于什么場合
- 渦輪流量計的安裝有哪些要求
- 渦輪流量計組成部分有哪些
- 渦輪流量計維護保養的要求有哪些
- 渦輪流量計前后直管段安裝要求
- 渦輪流量計常見故障判斷處理
- 渦輪流量計的工作原理與結構圖
- 渦輪流量計與渦街流量計的區別
- 渦輪流量計怎樣選流量范圍
- 渦輪流量計選型注意事項有哪些

