產品目錄
蒸汽流量計
渦街流量計
孔板流量計
壓縮空氣流量計
氣體流量計
熱式氣體質量流量計
旋進旋渦流量計
金屬管浮子流量計
氣體羅茨流量計
電磁流量計
渦輪流量計
橢圓齒輪流量計
水流量計
液體流量計
超聲波流量計
磁翻板液位計
浮子液位計
浮球液位計
玻璃管液位計
雷達液位計
超聲波液位計
投入式液位計
壓力變送器
差壓變送器
液位變送器
溫度變送器
熱電偶
熱電阻
雙金屬溫度計
推薦產品
聯系我們
聯系電話:13655235852
服務熱線:0517-86801009
公司傳真:0517-86801007
公司郵箱:1464856260@qq.com
公司地址:江蘇省金湖縣理士大道61號
混合氣體流量計
- 品*:JKM/凱銘儀表
- 型號:JKM-LUGB
- 測量范圍:5-11000m3/h
- 精度等級:1.5級、1.0級
- 公稱通徑:DN20~DN1200
- 適用介質:氣體、液體、蒸汽
- 工作壓力:1.6MPa~10MPa
- 工作溫度:-80℃~450℃
- 供電方式:24VDC或鋰電池
- 訂貨號:EDNZAFROE114
混合氣體流量計產品概述
渦街流量計可以測量蒸汽、氣體、液體、壓縮空氣、天然氣等物質!配置包括:一體現場顯示、3.6V電池供電、法蘭夾裝,可中文顯示瞬時流量累積流量。若想要測量更加精準,可帶溫度壓力補償,可以液晶中文顯示溫度、壓力、密度、瞬時流量、累計流量、頻率等參數,功能齊全。
混合氣體流量計工作原理
在流體中設置非流線型旋渦發生體(阻流體),則從旋渦發生體兩側交替地產生兩列有規則的旋渦,這種旋渦稱為卡曼渦街,如圖所示。
旋渦列在旋渦發生體下游非對稱地排列。設旋渦的發生頻率為f,被測介質來流的平均速度為V,旋渦發生體迎流面寬度為d,表體通徑為D,根據卡曼渦街原理,有如下關系式:
f=StV/d 公式(1)
式中:
f-發生體一側產生的卡門旋渦頻率
St-斯特羅哈爾數(無量綱數)
V-流體的平均流速
d-旋渦發生體的寬度
由此可見,通過測量卡門渦街分離頻率便可算出瞬時流量。其中,斯特羅哈爾數(St)是無因次未知數,
圖表示斯特羅哈爾數(St)與雷諾數(Re)的關系。
在曲線表中St=0.17的平直部分,漩渦的釋放頻率與流速成正比,即為渦街流量傳感器測量范圍度。只要檢測出頻率f就可以求得管內流體的流速,由流速V求出體積流量。所測得的脈沖數與體積量之比,稱為儀表常數(K),見式(2)
K=N/Q(1/m3) 公式(2)
式中:K=儀表常數(1/m3)。
N=脈沖個數
Q=體積流量(m3)
混合氣體流量計產品特點
1、渦街流量計的傳感器的通用性很強,從而使傳感器具有良好的互換性采用先進數控設備加工傳感器的表體和旋渦發生體等,確保加工精度,從而使零部件(特別是旋渦發生體)的通用性強,從而真正做到不會因零部件的更換而影響傳感器的重復性和精度;能產生強大而穩定的渦街信號。
2、結構簡單牢固,無可動部件,可靠性高,使用維護方便。
3、檢測元件不與介質接觸,性能穩定,使用壽命長 傳感器采用檢測探頭與旋渦發生體分開安裝,而且耐高溫的壓電晶體密封在檢測探頭內,不與被測介質接觸,所以渦街流量計具有結構簡單、通用性好和穩定性高的特點。
4、輸出與流量成正比的脈沖信號或模擬信號,無零點漂移,精度高,方便與計算機聯網
5、測量范圍寬,量程比可達1:10
6、渦街流量計測量體積流量時不需補償,渦街輸出的信號實際上是與流速成線性關系的,也就是與體積流量成正比。壓力和溫度補償的目的是為了得到流體的密度,乘以體積流量就得到質量流量,若測量氣體的體積流量就不需要補償了。
7、壓力損失小。
用口徑DN50的渦街流量計測量可燃氣體的流量,若管道內的*大流量Qmax =200m3/h時,傳感器的壓力損失是:△P =1.08×10-6 ρv2(kPa)= 0.605 KPa
8、在一定的雷諾數范圍內,流量特性不受流體壓力、溫度、黏度、密度、成分的影響,僅是與旋渦發生體的形狀和尺寸有關。
9、應用范圍廣,蒸汽、氣體、液體流量均可測量。
混合氣體流量計基本參數
1、測量介質:液體、氣體、蒸汽
2、介質粘度:小于10cp
3、介質溫度:-50℃~+400℃
4、本體材料:1Cr18Ni9Ti(其他材料協議供貨)
5、傳感器密封:石墨墊片(特殊根據要求)
6、環境溫度:-30℃~+80℃(特殊根據要求)
7、公稱直徑:管道式:DN15-DN300;插入式:DN200-2000mm
8、測量精度:液體:測量值的±0.5%(特殊);氣體:測量值的±0.5%
9、量程比:10:1
10、壓力等級:PN25,PN40(高壓可特殊制造)
11、連接方式:夾持式 DN15-DN300;法蘭式 DN15--DN300;插入式 DN200-DN2000
12、防爆形式:隔爆型Ex dⅡBT4-T6;本安型Ex iaⅡCT4-T6
13、防護等級:IP67
14、轉換器殼體:壓鑄鋁,上漆
15、供電電壓:12~36VDC或3.6V電池
16、輸出信號:兩線制4--20mA電流輸出
17、現場顯示:可編程設定顯示瞬時流量、累積流量
18、通訊方式:RS485通迅
混合氣體流量計流量范圍
混合氣體流量計選型
混合氣體流量計儀表的安裝外形尺寸


混合氣體流量計儀表配線設計
一. 輸出頻率信號的三線制渦街流量儀表配線設計
輸出頻率信號的三線制流量傳感器采用 DC24V 或 DC12V 電源供電,一般通過三芯屏蔽電纜線(RWP3×0.5mm)與顯示儀表或計算機相連,屏蔽層應可靠地接到放大器殼的接地螺絲上。屏蔽電纜線的選擇應適合現場環境要求,另外屏蔽電纜線要與其它強功率電力線分離,不能平行走線。傳感器端子接線見圖(八)

二.輸出標準 4~20mA 電流信號的兩線制渦街流量儀表配線設計
輸出標準 4~20mA 電流信號的兩線制變送器采用 DC24V 電源供電,一般通過兩芯屏蔽電纜線(RWP3×0.5mm)與顯示儀表或計算機相連,屏蔽層應可靠地接到放大器殼的接地螺絲上。屏蔽電纜線的選擇應適合現場環境要求,另外屏蔽電纜線要與其它強功率電力線分離,不能平行走線。變送器端子接線見圖(九)

三.帶 RS-485 通訊接口功能的渦街流量儀表配線設計
帶 RS-485 通訊功能的渦街流量儀表采用 DC24V 電源供電,與其它設備之間采用四線制傳輸方式。儀表端子接線見圖(十)

注意事項:
(1)防爆型傳感器和變送器安裝于危險場所,安全柵、顯示儀表、供電電源,計算機等關聯設備必須安裝在安全場所。
(2)傳感器和變送器應有可靠接地,防爆地線不得與強電系統保護接地共用。
混合氣體流量計安裝條件
1、工作條件
傳感器可在2下正常連續工作
2、環境條件
2.1環境溫度:-40~+55℃(非防爆場所)
2.2環境濕度:≤85%(相對濕度)
2.3大氣壓力:86~106Kpa
3、安裝指南:
a)傳感器安裝在管道上的位置一定要選振動小的地方,振動加速度不能大于0.2g,如大于需要采取減震措施。
b)傳感器的上游側和下游側必須有足夠的直管段見示意圖。
c)對于卡裝連接儀表,法蘭焊后必須保證法蘭的端面與管道垂直,內表面光滑,見圖。
d)傳感器可水平、垂直或傾斜安裝在直管上,當垂直安裝測液體時,液體必須由下而上流動。
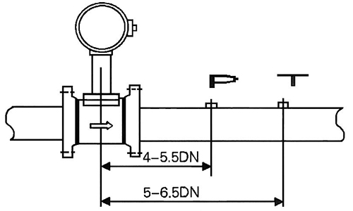
e)當在渦街流量傳感器同壓力傳感器和溫度傳感器組成測量系統時,其壓力、溫度測量點的位置如圖。
f)渦街流量傳感器安裝步驟可參考方法A或方法B(以法蘭卡裝型為例):
方法A:
Ⅰ選定安裝位置,并取前15DN,后5DN直管段割下。
Ⅱ在選表位置焊上兩片法蘭,并將傳感器裝好。
Ⅲ去掉原管多出的直管(即表體寬度)。
Ⅳ將傳感器的前后直管段焊到原工藝管道上。
方法B:
Ⅰ考慮前15DN,后5DN選定裝表位置。
Ⅱ取下表體寬度的一段管,焊上兩片法蘭連接孔同心,將傳感器螺栓緊固好。

